Headliners-Visors-Assist Straps for 2014 Jeep Patriot

Vehicle

2014 Jeep Patriot

Change Vehicle

Categories

Browse Categories
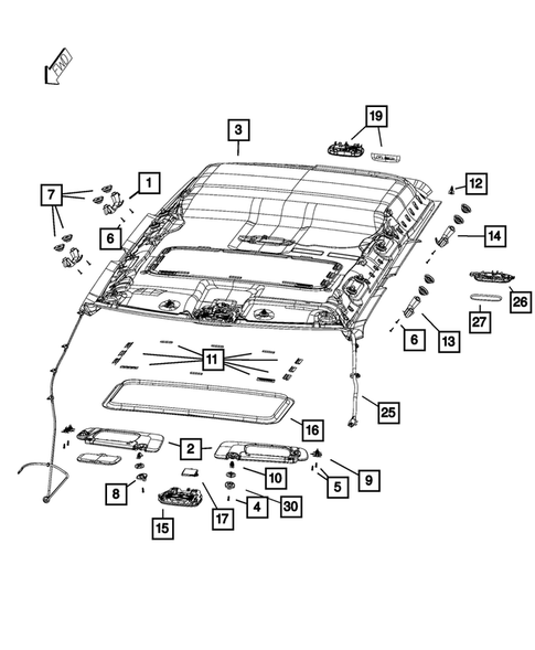
Headliners-Visors-Assist Straps for 2014 Jeep Patriot #0
No.
Part # / Description / Price
Price
N/A
Dome Lamp
Mopar Mopar
Description: Dome Lamp Only Component of Item # 9. Fixed, see green note at upper left. For lamp with flash light. Used with flashlight. Used on vehicles with flash light.
N/A
Garage Door Opener Button
Mopar Mopar
Description: See Group 008-810.
N/A
Dome Lamp Lens
Mopar Mopar
Description: Used in dome lamp with flash light. Lens Only Component of Item # 9. See green note at upper left. Used with dome lamp that has flashlight.
MSRP $14.15
$11.83
MSRP $14.15
$11.83
N/A
Dome Lamp
Mopar Mopar
Description: Dome Lamp Only Component of Item # 9. Fixed, see green note at upper left. For lamp with flash light. Used with flashlight. Used on vehicles with flash light.
N/A
Bulb, US, Canada, Mexico
Mopar Mopar
Description: LED Bulbs Not Serviced Use Console Assembly, Hardwired. 578. door courtesy, liftgate, pull handle lamps. Map Lamp. After 10/01/08. Map Light. Overhead Console. Dome Light. See Group 008-1115. Grab handle lamp. Dome and cargo lamps.
MSRP $13.50
$11.20
MSRP $13.50
$11.20
N/A
Bulb
Mopar Mopar
Description: Used with dome lamp with flash light. Used in dome lamp with flash light.
N/A
Flashlight Battery 2
Mopar Mopar
Description: Also Included With Flashlight. See Group 008-1115.
Not For Sale
Not For Sale
N/A
Screw, Left
Mopar Mopar
MSRP $4.00
$3.53
MSRP $4.00
$3.53
N/A
OEM NEW 2007-2015 Mopar Dodge Grand Caravan Caliber Avenger Dome Lamp 5JG55DW1AD
Mopar Mopar
Description: 2nd Row - Includes Lens And Bulb. Fixed, see green note at upper left. Used without switch.
MSRP $85.20
$56.47
MSRP $85.20
$56.47
N/A
Dome Lamp
Mopar Mopar
Description: 2nd Row - Includes Lens And Bulb. Fixed, see green note at upper left. Oval Shape, Second Row, Includes Bezel and Lens. Gray Bezel.
MSRP $82.75
$59.47
MSRP $82.75
$59.47
N/A
Dome Lamp
Mopar Mopar
Description: Dome Lamp Only Component of Item # 9. Fixed, see green note at upper left. For lamp with flash light. Used with flashlight. Used on vehicles with flash light.
N/A
OEM NEW Mopar 04-19 Dodge Ram Chrysler Jeep 2.0L-8.3L Dome Lamp Lens 5093413AA
Mopar Mopar
Description: Fixed. See green note at upper left. After 10/11/03. Sun Visor without Illuminated Vanity Mirror & without On/Off Switch Front Dome. After 11/15/02. Use with lamp 5JG55DW1AD.
MSRP $42.75
$30.75
MSRP $42.75
$30.75
2
Visor, Left
Mopar Mopar
MSRP $263.00
$171.13
MSRP $263.00
$171.13
3
Headliner
Mopar Mopar
Description: Includes Headliner WIring Harness.
3
Headliner
Mopar Mopar
Description: Includes Headliner WIring Harness.
3
Headliner
Mopar Mopar
Description: Includes Headliner WIring Harness.
3
Headliner
Mopar Mopar
Description: Includes Headliner WIring Harness.
3
Headliner
Mopar Mopar
Description: Includes Headliner WIring Harness.
3
Headliner
Mopar Mopar
Description: Includes Headliner WIring Harness.
3
Headliner
Mopar Mopar
Description: Includes Headliner WIring Harness.
3
Headliner
Mopar Mopar
Description: Includes Headliner WIring Harness.
4
Screw
Mopar Mopar
Description: Visor Support. Coat Hook attach. Grab Handle Attach. 0.164-18X1.0. Grab Handle Attachment.
4
OEM NEW 07-17 Mopar Jeep Compass Patriot Coat Hook Attach Export Screw 5183404AA
Mopar Mopar
Description: Visor Support. Coat Hook Attach. Grab Handle Attach. Export.
MSRP $8.90
$7.42
MSRP $8.90
$7.42
5
OEM NEW 2007-2017 Mopar Jeep Compass Visor To Headliner Attach Screw 5183402AA
Mopar Mopar
Description: Export. Visor To Headliner Attach.
MSRP $10.15
$8.47
MSRP $10.15
$8.47
8
Visor Receptacle
Mopar Mopar
Description: Support, p/n 1dr31hdaaa. Visor Support.
MSRP $16.35
$13.72
MSRP $16.35
$13.72
9
Clip
Mopar Mopar
Description: Used for Visor Support and Grab Handle.
10
Clip
Mopar Mopar
Description: Visor Support And Grab Handle. Z-Axis.
MSRP $8.70
$7.28
MSRP $8.70
$7.28
11
Retainer
Mopar Mopar
Description: Export. Trim Lace.
12
Push Pin
Mopar Mopar
Description: Rear of Headliner. Deck Lid Liner, Attach. Deck Lid Cover Attaching.
MSRP $5.75
$5.18
MSRP $5.75
$5.18
14
Grab Handle, Left
Mopar Mopar
Description: Left Rear.
MSRP $103.00
$68.29
MSRP $103.00
$68.29
14
Grab Handle, Right
Mopar Mopar
Description: Right Rear.
15
Reading Lamp
Mopar Mopar
Description: READING
MSRP $158.00
$103.93
MSRP $158.00
$103.93
17
Garage Door Opener Bezel
Mopar Mopar
Description: Located On The Face Of The Visor.
19
Flashlight Lamp
Mopar Mopar
Description: Rear assembly with flashlight - see green note at upper left. Complete Assembly. See Group 008-1115. This Assembly Includes Lamp, Battery, Dome Lamp and Lens, with Bulb.
19
OEM NEW 2010-17 Mopar Jeep Compass Patriot Flashlight Lamp Left Rear 5LB81HDAAB
Mopar Mopar
Description: Flashlight Only. Rear assembly with flashlight - see green note at upper left. See Group 008-1115. This Assembly Includes Lamp, Battery, Dome Lamp and Lens, with Bulb.
30
Spacer
Mopar Mopar
Description: Grab Handle.
2 This part contains hazardous materials. Extra shipping costs apply.
}); });